USB-C接口果然是個大坑:蘋果重新召回MagSafe
蘋果在用戶體驗上做的一直都很棒,比如MacBook上的MagSafe磁性充電接口,用的人都會對它贊不絕口,不過如此棒的設計,卻被USB-C給干掉了。...
蘋果在用戶體驗上做的一直都很棒,比如MacBook上的MagSafe磁性充電接口,用的人都會對它贊不絕口,不過如此棒的設計,卻被USB-C給干掉了。
在新MacBookPro上,蘋果接口處理上表現相當激進,直接取消原來所有的接口,取而代之的是四個USB-C接口,由于接口太超前(普及至少往后推遲兩年),導致用戶使用起來相當不方便,還要額外花銷買一大堆轉接配件。

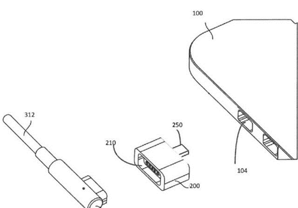
果粉對于USB-C接口吐槽聲最大,或許是看到大家的心聲,現在蘋果申請的新專利顯示,他們打算把MagSafe磁性充電接口重新找回來。

從實現的方式上來看,蘋果在MagSafe充電線和USB-C接口間加入了一個適配器,這樣可以最大程度的滿足用戶需求。
不管USB-C接口有多坑,蘋果從來不會為自己的任性買單,畢竟有眾多果粉來買單。
MacBook 用USB-C轉HDMI適配器時會閃屏
有大量用戶在蘋果官方支持論壇抱怨,2016款12寸RetinaMacBook使用USB-C轉HDMI適配器時,屏幕會發生閃爍問題。MacBook使用蘋果官方的USB-C數字AV多接口適配器時,會出現很明顯的閃屏現象。這個問題并不影響2015款MacBook。用戶表示,2016款MacBook安裝了macOS或者Windows時,閃屏現象都會出現。一些用戶表示,當MacBook從睡眠模式…...
全球首款USB-C耳機接受預訂!可以單獨購買
IT科技網消息,全球首款采用USBType-C端口的耳機--JBLReflectAwareC今天開放接受預訂。這款高解析耳機早在今年4月份就已經宣布,主要面向運動領域且裝備自適應降噪...
USB-C:強調移動無線互聯/未來產品標配
蘋果的每一次改變似乎都是要引領行業的變革,追溯過往來看,這可能是真的。前不久的蘋果新品發布會結束后出現了不少槽點,比較集中的兩個就是AppleWatch最高達到了10W+的售價...

